
安定した養生環境を。

これまでは夏冬使い分けていた養生カバー。
セレキュアブロックは特殊な製織技術により、散水の水分を通しながら夏の日射からの乾燥を防ぎ、冷寒時には水和熱を逃しません。
一年を通してコンクリート養生に必要な環境を保持する高機能養生カバーです。
特殊繊維を高密度に織り込むことで実現した
透水・保湿・保温テクノロジー
特許技術

高密度(約3400本/cm)に織り込み
これまでにない高機能化。
これまでにない高機能化。

[夏] 安定した高湿度を保つ

[冬]水和熱を逃さず温度を保つ

商品仕様

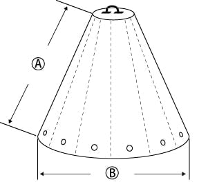
三角錐タイプ

セレキュア ブロック
三角錐タイプ
品番 | BSC-TS |
---|---|
サイズ | A:4.9m B:5.7m |
製品重量 | 約12kg/枚 |
品番 | BSC-TM |
---|---|
サイズ | A:5.6m B:6.4m |
製品重量 | 約14kg/枚 |
品番 | BSC-TL |
---|---|
サイズ | A:6.5m B:7.4m |
製品重量 | 約19kg/枚 |

四角柱タイプ

セレキュア ブロック
四角柱タイプ
品番 | BSC-CS |
---|---|
サイズ | A:2.0m B:2.0m C:2.0m |
製品重量 | 約5kg/枚 |
品番 | BSC-CM |
---|---|
サイズ | A:4.0m B:4.0m C:4.0m |
製品重量 | 約18kg/枚 |
品番 | BSC-CL |
---|---|
サイズ | A:6.0m B:6.0m C:6.0m |
製品重量 | 約41kg/枚 |
電話でのお問い合わせ
CONTACT
土木資材事業に関しての
お問い合わせはこちら